Основным источником звука выстрела огнестрельного оружия является ударная волна, создаваемая раскалёнными пороховыми газами, вырывающимися вслед за пулей из ствола оружия. Создаваемый этой волной громкий и резкий звук демаскирует стрелка, спугивая добычу на охоте в случае промаха или предупреждая противника, что, разумеется, не всегда желательно для стреляющего.
Частичное решение проблемы уменьшения звука выстрела было найдено ещё в первой декаде ХХ века англичанином Хайрэмом Перси Максимом (сыном знаменитого сэра Хайрема Стивенса Максима, изобретателя одноименного пулемёта). Максим-младший разработал и запатентовал всем нам ныне хорошо знакомый глушитель расширительного типа, в котором пороховые газы, прежде чем попасть в атмосферу, охлаждаются и тормозятся в замкнутом объёме глушителя, надетого на ствол оружия.
Принцип действия таких глушителей полностью идентичен принципам работы глушителей, используемых на выхлопных системах двигателей внутреннего сгорания. Такое решение, однако, имеет целый ряд недостатков — для эффективного снижения уровня шума глушитель должен иметь существенный объём, а значит, немалые вес и размер. Его установка на оружие увеличивает массу и габариты, изменяет привычный баланс, и всё равно при этом полного устранения звука выстрела добиться не получается — происходит лишь его снижение в среднем на 20–25 децибел.
Полностью исключить звук, создаваемый пороховыми газами, можно лишь одним способом — исключив их выход в атмосферу в горячем виде, и, что интересно, это решение было предложено даже раньше появления глушителя Максима. Первый известный автору патент на систему, в которой прорыв пороховых газов из ствола наружу был полностью исключен путем запирания газов внутри гильзы, датируется 1902 годом. Выданный американцу Бисселю (J.E.Bissel) патент США за номером 692,819 именовался «Способы бесшумной стрельбы из оружия» (Means for effecting noiseless discharge of guns) и описывал патрон, в котором небольшой пороховой заряд был отделён от пули пыжом-поршнем и слоем жидкости.
При выстреле пороховые газы резко толкали поршень вперёд до упора в передний скат гильзы, где тот заклинивался, не выпуская газы наружу. Импульс поршня передавался на пулю через несжимаемую жидкость, которая за счёт уменьшения сечения зарядной камеры на переходе к стволу дополнительно разгоняла пулю относительно скорости поршня(чем площадь дна пули была меньше площади толкающего поршня во столько раз и увеличивалась её скорость относительно поршня прим. редакции).
Примерно в 1955 году в США на правительственном Франкфордском арсенале были начаты работы по созданию полностью бесшумных патронов на описанных выше принципах, получившие кодовое наименование «Шёпот» (Whisper). Интересно, что новые патроны создавались для использования в существующем штатном оружии Армии США — самозарядной винтовке Гаранда М1 и револьверах .38 калибра. Винтовочный патрон получил обозначение «Cartridge, .30 caliber, XM76».
Внешне этот патрон мало отличался от стандартного винтовочного патрона .30 М2 (.30-06). Конструктивно же патрон ХМ76 имел много общего с разработанным позже советским патроном ПЗ «Змея» — прочная стальная гильза имела отдельное дно с капсюльной втулкой, устанавливающееся в тело патрона на резьбе. Поверх небольшого заряда пороха располагался поршень с длинным штоком-толкателем, упиравшимся в остроконечную пулю. Стальная точёная пуля с медным ведущим пояском имела массу около 5,5 г и при стрельбе из винтовки М1 развивала начальную скорость порядка 244 м/с.
Поскольку все пороховые газы после выстрела оставались в гильзе, запертые поршнем-толкателем, перезарядка винтовки после каждого выстрела производилась только вручную. Бесшумный револьверный патрон .38-го калибра имел пулю массой 8 г с начальной скоростью около 120 м/с. На базе патрона ХМ76 разрабатывался несколько более мощный патрон ХМ115, в целом аналогичной конструкции и того же размера, имевший более тяжёлую пулю массой 7,1 г при той же начальной скорости около 240 м/с, однако о его реальном выпуске информации пока не найдено.
В ряде документов, выпущенных в США в 1962 году (тогда считавшихся совершенно секретными, но позже рассекреченных), такие характеристики объявлялись недостаточно высокими для боевого оружия «для партизанских действий» (Guerrilla warfare), что привело к созданию следующей программы разработки бесшумного оружия под кодом «Альфа» (Silent Weapon System — Alpha). Согласно данной программе, предполагалось создать самозарядное бесшумное оружие под новый патрон с отсечкой газов, с принятием на вооружение к 1965 году.
Оружие «Альфа» должно было стрелять тяжёлыми 9-мм пулями из вольфрамового сплава или даже обеднённого урана, с массой пули 29–32 г и начальной скоростью порядка 300 м/с. Длина патрона со стальной гильзой определялась не более 10 см. Само оружие «Альфа» должно было иметь магазин вместимостью не менее 8 патронов, снаряженную массу не более 3,2 кг и использовать самозарядную автоматику на основе энергии отдачи.
Нужно отметить, что требования к патрону были близки к реальным характеристикам советского бесшумного патрона ПФ «Фаланга» (длина гильзы 93 мм, калибр 9 мм, масса пули 28 г, начальная скорость 260 м/с). Насколько такое совпадение случайно сказать довольно сложно, так как «Альфа» и советский аналог были разработаны примерно в одно и то же время. Завершало концепцию «Альфы» требование возможности установки на это оружие новейших ночных прицелов, что позволило бы обеспечить эффективную дальность стрельбы по живой силе противника не менее 200 м не только в светлое время суток, но и ночью.
Опытный патрон .38-го калибра (9 мм) для системы «Альфа» получил индекс ХМ202, данных об оружии под него найти не удалось, за исключением длины ствола в 10 дюймов (25 см). Невзирая на первоначальные планы поставить «Альфу» на вооружение к 1965 году, в 1967 году, судя по рассекреченным отчётам, речь всё ещё шла только об опытной отработке боеприпасов ХМ202. Не исключено, что готовое оружие «Альфа» вообще так и не появилось на свет, а испытания патронов проводились только в баллистическом стволе. Впрочем, для столь неординарных систем в этом нет ничего необычного: создававшийся примерно в то же время советский бесшумный патрон СП-3 также имел довольно большой срок отработки — почти 10 лет.
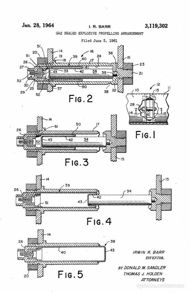
Интересно, что параллельно с чисто армейскими разработками в США аналогичными системами, причем с гораздо большим размахом, занимались и частные компании, а точнее — один из двигателей американского прогресса в стрелковом оружии того периода, компания AAI Inc. В 1961 году Ирвин Барр (Irwin Barr), основатель компании, подал заявку на «толкающий механизм с отсечкой газов», представлявший собой одноразовое пиротехническое исполнительное устройство широкого применения (например, для приведения в действие бомбосбрасывателей, сброса обтекателей ракет и т.п.).
Для исключения повреждения расположенных рядом механизмов пороховыми газами они «отсекались» специальным эластичным стаканом из тонкостенной стали, расположенным между зарядом и толкателем и жёстко скреплённым с гильзой. Эта оригинальная конструкция, по функционированию напоминавшая надувной воздушный шарик, легла в основу нескольких дальнейших работ компании AAI по бесшумному оружию с отсечкой газов — бесшумных патронов 12 калибра и 40-мм гранатомётных выстрелов. Параллельно инженеры AAI отрабатывали и концепцию отсечки пороховых газов обычным поршнем-пыжом, заклиниваемым в сужении дульной части гильзы.
В 1967 году, в связи с активизацией войны во Вьетнаме, компания начала разработку целого семейства бесшумного оружия для вооружения подразделений американского спецназа. Пожалуй, самой известной разработкой этого периода стал бесшумный револьвер QSPR, выпущенный малой серией для вооружения «туннельных крыс» — малочисленных сорвиголов, отправлявшихся в одиночку на боевые поиски в выкопанные вьетнамскими партизанами туннели.
Новое оружие было создано на базе обычного револьвера Smith & Wesson Model 29 калибра .44 Magnum, модифицированного компанией AAI. В середине 1969 года первые 10 опытных бесшумных «туннельных» револьверов QSPR вместе с патронами поступили в действующие войска США во Вьетнаме. Эти револьверы буквально поштучно были распределены между элитными подразделениями спецназа армии и морской пехоты, где и прошли испытания боем. Как правило, револьверы QSPR применялись внезапно и с минимальной дальности, обеспечивая надёжное поражение цели одним-двумя выстрелами.
Бесшумные патроны для револьвера QSPR имели стальную гильзу, в которую в задней части ввёрнуто на резьбе донце с капсюлем и промежуточным ударником; в поздних вариантах патрона QSPR от промежуточного ударника отказались. Небольшой заряд пороха расположен под стальным поршнем, имеющим форму стакана, обращённого донцем вперёд. Заклинивание поршня-толкателя в дульце гильзы обеспечивается при помощи сужения в её передней части. Заряд патрона представляет собой 15 вольфрамовых картечин, каждая массой по 0,5 г. Начальная скорость картечи составляет около 220 м/с, суммарная дульная энергия порядка 185 Дж.
Громкость звука выстрела на дальности в 1 м от дульного среза составляет порядка 110 децибел(?), то есть, на уровне обычного малокалиберного пистолета с глушителем. Эффективная дальность стрельбы по незащищённой цели до 10 м. Сам револьвер QSPR отличался от прародителя S&W M29 барабаном с рассверленными под новый патрон каморами и очень коротким стволом без нарезов. Так как револьвер предполагалось использовать в тёмных подземных туннелях и на минимальных дальностях, прицельных приспособлений он не имел.
После нескольких месяцев войсковых испытаний была собрана достаточная информация и начаты работы по совершенствованию как револьверов, так и патронов к ним. Эти работы продолжались в течение 1970 и 1971 года, однако начавшийся вывод войск США из Вьетнама привёл к закрытию программы доработки бесшумного револьвера в 1972 году. Общее количество бесшумных револьверов QSPR, переданных компанией AAI армии США, по разным источникам, составляет от 25 до 250 штук. О дальнейшем (после окончания войны во Вьетнаме) использовании этих револьверов ничего достоверно не известно.
Разработанный тогда же картечный бесшумный патрон для ружей 12 калибра использовал для удержания пороховых газов описанный выше принцип «воздушного шарика» из тонкой эластичной стали. Снаряженный 12 свинцовыми картечинами патрон мог применяться в любом штатном гладкоствольном оружии 12 калибра с ручной перезарядкой, обеспечивая минимальный шум выстрела при эффективной дальности стрельбы 10–15 м. Начальная скорость картечи порядка 140 м/с.
Невзирая на возможность применения в штатном «шумном» оружии, этот патрон был произведён единственной очень ограниченной серией, так как его конструкция вышла чересчур дорогой и не слишком надёжной из-за периодических разрывов эластичного стального толкателя, приводивших к «шумной» стрельбе. При этом сам по себе патрон был действительно практически бесшумным — по отзывам испытателей, лязг цевья помпового ружья при перезарядке звучал громче, чем выстрел.
Аналогичная судьба постигла и концепцию 40-мм гранатомётного выстрела DBCATA, который вообще не требовал для стрельбы какого-либо ствола — им служила массивная гильза, имевшая внутри нарезы, по которым следовали готовые выступы утопленной в гильзу 40-мм осколочной гранаты. По сути, гранатомёт для системы DBCATA представлял собой лишь стреляющий механизм с держателем для выстрела.
Эта система предлагалась компанией-производителем в комплекте со своим автоматом в рамках американской программы SPIW, однако чрезмерная стоимость и невысокая надёжность отсечки газов и тут сыграли решающую роль, так что к началу 1970-х годов автомат SPIW компании AAI пришёл с уже вполне традиционным «шумным» подствольным гранатомётом калибра 30 мм.
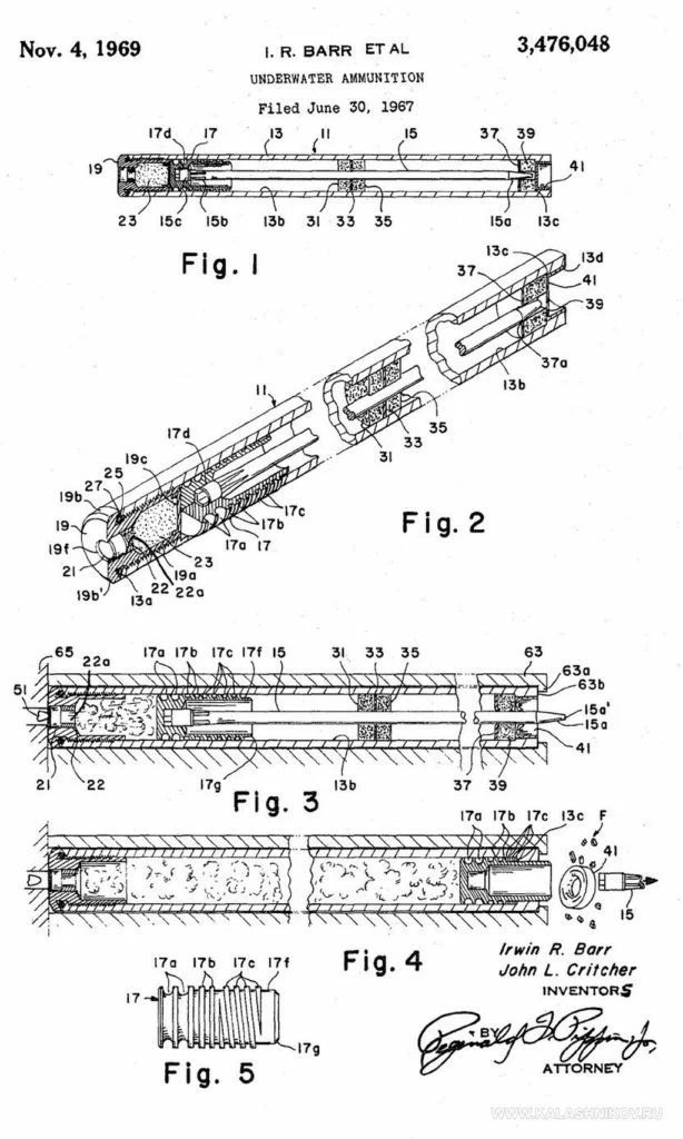
Интересно, что оказавшиеся «коммерчески неудачными» боеприпасы 12 калибра и 40-мм гранатомётные выстрелы не были секретными и освещались в оружейной прессе того времени. В то же время подводный револьвер Mk.1 Mod.0 Underwater Defense Gun разработки все той же AAI долгое время оставался секретным. Само по себе оружие, 6-зарядный самовзводный «пеппербокс» со сменным блоком стволом, особого интереса не представляло, а вот его патроны интересны, так как, в отличие от других описанных выше систем, они довольно долго находились на вооружении спецназа ВМФ США (US Navy SEAL).
Подводный патрон Mk.59 внешне имеет вид стального цилиндра длиной около 14 сантиметров и диаметром около 1 см. В задней части патрона расположен капсюль-воспламенитель, небольшой заряд пороха и специальный поршень-толкатель. Большую часть длины гильзы занимает цилиндрическая полость (фактически — ствол), внутри которой в удерживающих дисках расположена игловидная пуля-стрела длиной около 10 см и диаметром 2,5 мм (0.1 дюйма), выполненная из сплава вольфрама. Масса пули-стрелы 9,9 г, начальная скорость при стрельбе на воздухе 225 м/с.
При выстреле пороховые газы разгоняют поршень, который энергично выбрасывает пулю вперёд из патрона. В передней части внутреннего канала гильзы выполнено цилиндрическое утолщение, которое останавливает поршень и тем самым запирает пороховые газы в гильзе, обеспечивая бесшумную и беспламенную стрельбу на воздухе и отсутствие облака газовых пузырей под водой. Эффективная дальность стрельбы под водой составляет примерно 10 м на глубине 18 м.
В конце семидесятых годов американский подводный пистолет был сменён на вооружении разработанным в Германии пистолетом P11 ZUB компании Heckler&Koch. Концептуально Р11 представлял нечто среднее между советским СПП-1 и американским Mk.1 Mod.0 — он имел неподвижный при стрельбе блок из 5 стволов, снаряжавшихся в заводских условиях и устанавливающийся на пластиковую рамку оружия. Подобно американской системе, в блоки стволов Р11 стреловидные пули заряжались при помощи специальных поддонов, при выстреле заклинивавшихся в дульной части ствола за счёт дульного сужения. Воспламенение порохового заряда осуществлялось электрической схемой, батарейка была спрятана в герметичном контейнере в рукоятке оружия.
Интересно, что патент на конструкцию Р11 был заявлен в Германии в 1969 году, но опубликован только в 2008, по истечении срока секретности разработки. При этом основной задачей, решаемой патентуемой конструкцией, была именно бесшумность выстрела, что в сочетании с иллюстрациями и другой просочившейся информацией позволяет обоснованно предполагать, что помимо «подводных» зарядов с длинными стреловидными пулями для Р11 существовали и «сухопутные» варианты снаряжения блоков стволов для бесшумной стрельбы «на воздухе», снаряженные различными типами пуль калибра 7,62 мм. При этом блоки стволов для «сухопутного» применения имели нарезы для стабилизации пуль, а сами подкалиберные пули размещались в специальных поддонах.
Что интересно: невзирая на очевидно широкий фронт работ по бесшумному оружию с «отсечкой газов», развернутый в США во второй половине 1960-х годов, в начале 1970-х произошло быстрое и, похоже, безвозвратное свёртывание всех работ в этом направлении. Наиболее очевидной причиной может считаться окончание войны во Вьетнаме и резкое урезание военного бюджета — разработка оружия под классические глушители обходилась куда как дешевле, а, главное, патроны для него стоили несоизмеримо меньше и уже имелись на вооружении. Однако это не объясняет полного прекращения всех работ в данном направлении в США.
Документально подтвержденного объяснения этого факта у автора нет, однако наиболее разумным кажется предположение, что виной тому стала позиция правительственного Бюро по контролю за алкоголем, табаком и огнестрельным оружием США (ATF). В какой-то момент специалисты бюро сочли, что каждый патрон с отсечкой газов сам по себе является «оружием с глушителем», и, как следствие, подлежит поштучному учёту с обязательным присвоением индивидуального серийного номера каждому патрону, с отслеживанием жизненного цикла каждого номерного предмета вплоть до списания.
Учитывая, что весь учёт в семидесятые годы вёлся в основном на бумаге, можно представить, какая бюрократическая волокита должна бы была сопровождать каждый отдельный патрон. А уж случись элементарная утеря пары-тройки патронов (то есть, с точки зрения ATF, двух-трёх единиц бесшумного оружия) — крупных проблем не избежать. Вот и остались американские спецназовцы без действительно бесшумного оружия, а современные советские конструкции типа пистолетов ПСС или ПСС-2 — без аналогов.
Завершая наш далеко не полный обзор, нужно упомянуть и другие аналогичные системы. В частности, вскоре после Второй мировой войны во Франции была разработана опытная бесшумная винтовка на базе проверенной армейской «магазинки» MAS M1936. В этой винтовке, имевшей удлинённые ствольную коробку и затвор, использовался опытный патрон со стальной гильзой длиной 106 мм с отсечкой газов внутри гильзы при помощи пыжа-поршня и жидкостью в роли промежуточного толкателя и ускорителя пули.
Патрон снаряжался штатной винтовочной пулей, однако каких-либо данных о его баллистике не сохранилось, равно как и информации о дальнейшей судьбе этих работ во Франции. Скорее всего, у небогатых тогда французов, к тому же явно уставших воевать, на эти работы просто не нашлось денег.
Как видим, некогда казавшиеся весьма перспективными разработки в области бесшумных патронов на Западе практически сошли на нет. А вот в СССР и в дальнейшем в РФ работы в данном направлении были продолжены.
Автор: Максим Попенкер
Источник:
Журнал «Калашников» №8.2020 год














