Виктор Дмитриев разработал самые маленькие в мире одномоторные самолёты. У самого лучшего его самолёта X-14d была площадь крыла всего 1,76 м2. В разобранном виде самолёт умещается в 2 чемодана. Самолеты Дмитриева имеют малые взлётно-посадочные скорости и сохраняют устойчивость и управляемость на скоростях менее 40 км/ч. Они прощают ошибки пилота и могут быть пригодны для первоначального обучения.


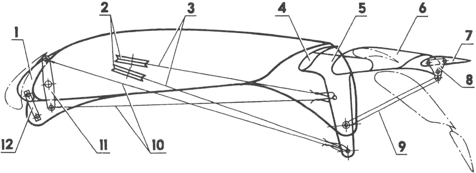
Отличительной особенностью самолётов Виктора Дмитриева является то, что при своих малых размерах они имеют развитую механизацию крыла (двухщелевые закрылки, щелевые элероны) и стабилизаторы повышенной эффективности, с щелевыми рулями высоты. Все щели профилированные. Стабилизатор сделан небольших размеров и имеет перевёрнутый профиль.

А у самолёта X-14d ещё более сложная конструкция: крыло имеет 3-х щелевые закрылки, автоматически выпускаемые предкрылки, 2-х щелевые элероны,и интерцепторы. Также самолёт имеет двухосный руль направления и секционный адаптивный стабилизатор. В стабилизаторе 4 секции поворачиваются относительно друг друга, таким образом меняются профиль и угол установки стабилизатора. Системы управления взаимосвязаны между собой. Виктор назвал это «механическая автоматика».

Основные технические характеристики самолета X-14d

Длина,м……………………………………………………………………. 3,13
Высота, м…………………………………………………………………. 1,22
Размах крыла, м …………………………………………………………5
Площадь крыла, м²…………………………………………………….. 1,76
Сухая масса, кг……………………………………………………….. 54
Скорость взлетная, км/ч ……………………………………………..55
Скорость максимальная, км/ч …………………………………….130
Двигатель фирмы «Чезет»: ……….. 380 см³, 6400 об/мин, 42 л.с.

Источник:

САМОЛЕТ, КОТОРЫЙ ЛЕГЧЕ ПИЛОТА


Информацией поделился: Андрей Хак

от admin