Многие любители оружия хорошо знают конструктора и предпринимателя Дэвида Дардика. Его уникальные гибриды пистолета и револьвера с патронами треугольной формы (tround) навсегда вошли в историю стрелкового оружия. Увы, история Dardick Corporation была хоть и яркой, но короткой: в 1962г., всего через три с небольшим года после начала выпуска пистолетов, оружейная фабрика закрылась.
А тем временем американские военные объявили конкурс на разработку нового хммм… автомата, наверное. По программе SPIW (Special Purpose Individual Weapon, личное оружие специального назначения) предполагалось разработать автоматическое оружие со скорострельностью 2000 выстр/мин, скоростью пули более 1000 м/с, отсечкой трёх выстрелов, многозарядным гранатомётом, хорошей кучностью при автоматической стрельбе и высочайшей надёжностью при массе всего 10 фунтов (около 4,5 кг) — и всё это в начале 1960х гг.!
Нетрадиционное задание рождает нетрадиционные решения, и к разработке, компания Harrington&Richardson, привлекла оставшегося не у дел Дэвида Дардика. В 1964 году фирма представила на испытания свою версию оружия будущего, H&R SPIW. Автомат был оборудован трёхзарядным подствольным 40-мм гранатомётом с револьверной подачей.
В то время, как соперники по конкурсу мучились над разработкой УСМ с отсечкой и повышением кучности стрельбы, Дардик обе проблемы изящно обошёл.
В то время, как соперники по конкурсу мучились над разработкой УСМ с отсечкой и повышением кучности стрельбы, Дардик обе проблемы изящно обошёл.
Как и следует ожидать, барабанная система подачи, примененная в пистолетах Dardick, была заимствована без особых изменений, разве что цикл перезарядки выполнялся не мускульной силой стрелка, а при помощи газового двигателя. Треугольная форма патрона Tround прямо-таки подсказывала решение: в нём идеально размещаются три пули. И вместо использования патрона XM144, предписанного регламентом конкурса, Дардик использовал только стреловидные пули от него, которые он разместил по три штуки в патроне собственной конструкции.
Таким образом, вместо короткой очереди из трёх патронов автомат H&R SPIW стрелял залпами из трёх стволов, что теоретически снимало вопросы со скорострельностью и кучностью без усложнения конструкции. Как тут не вспомнить Коробова и его Прибор-ЗБ : воистину, безграничность военной мысли — явление интернациональное!
Увы, в этом случае такое решение не сработало. Стволы оказались размещены слишком близко друг к другу, и в момент одновременного выхода пуль из дульного среза на них действовало давление пороховых газов из соседних стволов. Кучность залповой стрельбы не просто не оправдала ожиданий — она оказалась ниже, чем у соперников. Кроме того, испытатели отметили невысокую надёжность и явную небезопасность конструкции с открытым патронником и более чем двукратное превышение по массе (23,9 фунта).
Первый этап конкурса окончился для автомата H&R SPIW бесславным провалом (к основной части испытаний он даже не был допущен), а для самого Дэвида Дардика — увольнением.
Однако компания Harrington&Richardson не оставляла попыток доработать оружие. Так, инженер Дэвид Хоуторн попытался повысить кучность стрельбы доработкой патрона. Он вполне логично решил, что раз одновременный вылет пуль приводит к их отклонению, надо сделать так, чтобы они вылетали с некоторой разницей во времени, Соответственно, в доработанном патроне на каждую пулю приходился свой индивидуальный пороховой заряд; к каждому из них шел запальный шнур от капсюля.
Однако компания Harrington&Richardson не оставляла попыток доработать оружие. Так, инженер Дэвид Хоуторн попытался повысить кучность стрельбы доработкой патрона. Он вполне логично решил, что раз одновременный вылет пуль приводит к их отклонению, надо сделать так, чтобы они вылетали с некоторой разницей во времени, Соответственно, в доработанном патроне на каждую пулю приходился свой индивидуальный пороховой заряд; к каждому из них шел запальный шнур от капсюля.
Время горения у них было разным, поэтому вместо одного залпа такой патрон обеспечивал сверхбыструю очередь. Как следует ожидать, столь сложный в производстве боеприпас не имел реальных перспектив. Впрочем, вскоре и сам конкурс SPIW был закрыт без победителя. Видимо, время космических бластеров еще не пришло.
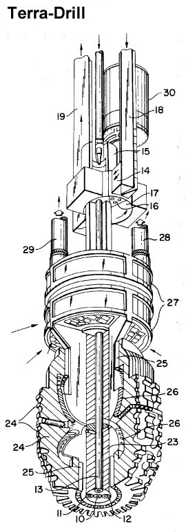
Сам Дардик позднее запатентовал на своё имя конструкцию залпового автомата и продолжил работу над ним. В частности, он пытался скомпенсировать сбой пуль при вылете регулировкой углового положения стволов, но искоренить принципиальные недостатки конструкции такое решение не смогло. И тогда он нашел совершенно неожиданное применение своей разработке: он вмонтировал её в земляной бур Tround Terra-Drill! Если при бурении попадалась твёрдая порода, она дробилась залпом из трёх стволов специальными керамическими пулями.
Буровые патроны часто ошибочно приводятся в качестве иллюстрации боеприпаса H&R SPIW; на самом деле они разные: как было сказано выше, автомат стрелял стреловидными пулями из твёрдого сплава.
Насколько практически применимыми оказались буры Дардика, сказать сложно. По наличию патронов для них можно сделать предположение, что хотя бы один такой бур был изготовлен, но никакой информации об их количестве и применении мне найти не удалось. Следует предположить, что столь экзотическое решение осталось невостребованным и в этой области…
Насколько практически применимыми оказались буры Дардика, сказать сложно. По наличию патронов для них можно сделать предположение, что хотя бы один такой бур был изготовлен, но никакой информации об их количестве и применении мне найти не удалось. Следует предположить, что столь экзотическое решение осталось невостребованным и в этой области…
Автор:Евгений Беляков









