О том, что заставило югославского инженера Ратомира Андреевича в 1970-х переехать в ЮАР, сейчас точно неизвестно, да и суть не в этом. Поработав какое-то время в сфере гидравлики в собственной фирме Hydro Projects Proprietary, Ltd. в 1980-х (именно к этому периоду относится его единственный южноафриканский патент на «гидравлическую» тему), Андреевич понимает — в обстановке Южно-Африканской Республики куда востребованнее оружие, чем гидравлическое оборудование. Поэтому он «перепрофилировался», зарегистрировав в 1988 году новую фирму Techno Arms Proprietary Ltd.

Дела, правда, пошли не очень без должного опыта — уже спустя два года ему пришлось искать инвесторов, передав 70% активов холдингу Cementation Africa. Получив инвестиции, он продолжил развивать свою идею предельно компактного дробовика, который запатентовал в нескольких странах: южноафриканская заявка подана в 1993 году, в США запрос отправлен в 1994, плюс несколько заявок в странах Юго-Восточной Азии.

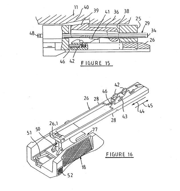
Именно стремление сэкономить каждый миллиметр и сделало будущий MAG-7 таким, каким он стал. Давно отлаженная в «гладкостволе» схема с подствольным трубчатым магазином не годилась — он получался слишком длинным. Разместить коробчатый магазин перед спусковой скобой опять-таки не давали габариты, схема буллпап могла бы решить проблему, но серьезно повлияла бы на эргономику и балансировку оружия. Поэтому Андреевич решил разместить магазин внутри пистолетной рукояти(!), получив таким образом, если можно так выразиться, «пистолетный дробовик».

Тут снова появилась проблема: стандартные патроны 12/70, закрытые «звездой», оказались слишком большими по длине. Андреевич решил не искать легких путей и взял патрон 12/60 (формально стандартизированный CIP, но по факту нигде давно не использовавшийся), который изначально выпускала для MAG-7 только фирма Swartklip — с дробью, картечью и резиновой пулей. Патронник при этом был стандартный — «семидесятый», что позволяло заряжать дробовик через окно экстракции стандартными патронами.

Их удалось уместить в магазин пять штук, и даже с ними рукоять была великовата.

Впрочем, эргономика вообще не была сильной стороной дробовика. Тяжелый и невнятный спуск (изначально — почти 8 кг!), крайне неудобный предохранитель, цевье, при перезарядке наезжающее на спусковую скобу и заставляющее из-за этого тренировать правильное положение указательного пальца (если он просто лежал на скобе, то цевье гарантированно по нему било).

«Такое чувство, что инженером был маркиз де Сад. Правая рука не может дотянуться до органов управления, и, если вы наденете перчатки, то обнаружите, что они блокируют движение затвора. И приклад находится под неестественным углом.»

Из отзывов владельцев

При такой «совокупности качеств» неудивительно, что большого интереса на родине дробовик не вызвал. К счастью для Techno Arms (и не особому — для ЮАР), завершение эпохи апартеида принесло и снятие эмбарго, позволившее Андреевичу выйти на международный рынок.

И здесь снова начались проблемы, и снова из-за длины. В США, например, где рынок был «вкуснее всего», дробовик просто не мог пройти через ограничения ATF на импорт, так что его в «гражданской» версии MAG-7M1 пришлось оснастить стационарным деревянным прикладом и длинным стволом, нивелировав тем самым все, из-за чего и пришлось изначально мучаться: теперь дробовик стал длиннее, чем обычная короткоствольная «помпа», да еще и весил больше. Например, в сравнении с «Моссбергом» со стволом 470 мм получается так:

Наконец, в качестве «полицейской» версии к дробовику еще и попытались приладить сверху однозарядный 37-мм гранатомет (MAG-7-37, он же MAG-7 Dual Riot), для стрельбы гранатами со слезоточивым газом.

Конструкция же в целом была, несмотря на экзотический внешний вид, достаточно типичной. Затвор запирался клином, сцеплявшимся с хвостовиком ствола, и был связан с цевьем двумя тягами рамки. Скосы на рамке поднимали клин затвора при доходе до переднего положения.

Нехромированный ствол фиксировался в штампованной ствольной коробке накидной гайкой, после отворачивания которой сдвигался назад и вверх.

Курковый УСМ одинарного действия из-за специфической компоновки имел отнюдь не оптимальную конструкцию — из-за этого его и пришлось «дорабатывать напильником» на гражданской версии, чтобы обеспечить усилие спуска менее 4 кг (и это ведь при одинарном действии, а не самовзводе, повторимся!).

Курок на боевом взводе по задумке Андреевича запирался шепталом за самую верхнюю часть, само шептало при этом было связано со спусковым крючком длинной тягой и при нажатии на спуск должно было сдвигаться назад — отсюда излишние деформации и повышенное трение.

Цевье имело кнопочный блокиратор, запиравший его в переднем положении — что, конечно, плюс с точки зрения безопасности, но еще один минус к эргономике.

Несмотря на то, что в Techno Arms также выпускали и прочую продукцию (например, газовые гранаты для полиции), дела у нее шли так себе. В 1997 году фирма заключила крупный контракт (38 тысяч единиц оружия, 30 миллионов долларов) с правительством Сьерра-Леоне — вот только после этого в неспокойной стране произошел военный переворот, и контракт не был оплачен. Владевший Techno Arms холдинг начал искать покупателя на убыточную фирму, но безуспешно. В 1998 году дело дошло до слухов, что фактические владельцы фирмы заморозили ее деятельность и уволили Андреевича, что на самом деле было неправдой (более того, в 2000 году на работу сюда же пришел и его сын, Ричард). Тем не менее, протянуть ей удалось только до 2010-го.

Источники:

https://mil.in.ua/

https://www.npr.org/

https://www.euractiv.com/

https://toyokeizai.net/

https://dzen.ru/cockedandlocked

от admin