В 1920-1921 годах, когда Аймо Лахти служил мастером-оружейником в гражданской гвардии Риихимяки, он смог познакомиться с пистолетом пулемётом Bergmann MP 18(сконструированном Хуго Шмайссером). Будучи молодым человеком, который проявлял интерес к стрелковому оружию, он заметил, что в конструкции есть потенциал для улучшения, и был уверен, что сможет спроектировать ещё более эффективный пистолет пулемёт.
Вскоре после этого, став оружейным мастером в Центральной Финляндии в Коула, Лахти начал реализовывать свою идею. В свободное время он разработал предварительные чертежи для нового образца оружия и заказал у кузнеца в Вииала изготовление модели, под патрон 7,65 мм Browning. К сожалению информации о первом прототипе пистолета пулемёта Лахти довольно мало, не сохранились ни чертежи ни сама модель, но можно предположить что патрон 7,65 мм Browning подходил не лучшим образом для подобного оружия, но в остальном прототип на удивление показал очень хорошие результаты надёжности. Когда работа достигла конкретных результатов, Лахти представил свои планы офицерам полка. Некоторые из них заинтересовались проектом настолько, что были готовы поддержать его на добровольной основе.
Когда для продвижения дела потребовались деньги, Лахти с офицерами своего полка: капитаном В. Корпелой и лейтенантами Ю. Коскиненом и Л. Бойер-Спуфом, основали коммерческую компанию, которая получила название Konepistooliosakeyhtiö (что можно перевести как — “Компания по производству пистолетов-пулемётов”) . Несмотря на то, что средства военных были весьма ограничены, скромный капитал, вложенный в проект, а также займы, полученные от знакомых, были использованы для оплаты производства серии образцов. Стоит отметить что самые первые образцы Лахти изготовил на собственные средства.
Несмотря на то что командиры Центрально-Финляндского полка, полковники В. Хэгглунд и Э. Хейнрихс, старались всеми силами добиться финансовой поддержки от государства для разработки, Министерство обороны не предоставило такой помощи. Весной 1923 года прототип был представлен на рассмотрение министерству, но и это не вызвало ожидаемого интереса со стороны официальных лиц.
На этом этапе также была подана заявка на патент, который был выдан осенью 1923 года под номером 9886. Пистолет пулемёт был изготовлен на заводе Konepaja Leskinen & Kari в Тампере в 1922 году.
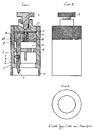
Автоматика первого опытного M/22 в целом была типичной для ранних пистолетов пулемётов и была основана на свободном затворе, но по сравнению с Bergmann MP 18, первый M/22 выглядел как грубая заготовка. Длина хода затвора была сравнительно короткой. Патрон на это раз был 7,65 мм Парабеллум, который всё больше получал распространение на территории Финляндии. Из за особенностей патрона, 36 зарядный однорядный магазин имел сильный изгиб, который позволял вести стрельбу из относительно низкого положения лёжа. Ложе было очень коротким, а деревянный приклад казался хрупким. Ствол с грубыми охлаждающими рёбрами крепился к корпусу с помощью винтовой фиксации, который фиксировал его внутри продольно перфорированного кожуха, подобная конструкция позволяло производить быструю замену ствола без инструментов. С правой стороны цилиндрической ствольной коробки располагалась рукоятка взведения. Рычаг предохранителя и переключателя огня находился на правой стороне ложа.
Несмотря на внешний вид, в этом оружии было достаточно передовых решений, которые можно было развивать дальше. В 1923-1924 годах Лахти с партнёрами доработал некоторые детали и изготовил несколько новых опытных образцов. В одном из них магазин был размещён на левой стороне оружия как у Bergmann MP 18.
Разрабатывая пистолет пулемёт, Аймо Лахти стремился сделать оружие максимально герметичным. Таким образом в 1924 году были внесены дополнительные изменения, так например в целях герметичности, для исключения попадания внутрь ствольной коробки пыли и грязи через прорезь от выступающей сбоку рукоятки взведения отказались в пользу отдельной рукоятки взведения расположенной под затыльником ствольной коробки, сама рукоятка при стрельбе оставался неподвижным и таким образом не могла вызвать помех, цепляясь за внешние препятствия, например, за снаряжение солдата. Оставалось открытым только отверстие для выброса гильз. Одновременно с удлинением ствольной коробки в её затыльнике был сконструирован механизм замедления темпа стрельбы на основе вакуумного торможения. На новые изобретения вскоре были поданы отдельные заявки на патенты.
Когда пистолет-пулемёт был признан коммерчески жизнеспособным, компания Konepistooliosakeyhtiö начала планировать серийное производство и обратилась к компании Ab Tool Oy, расположенной в Хельсинки. Эта компания, работающая в металлургической отрасли, уже производила различную продукцию для армии, включая винтовочный патроны. На этом этапе в Konepistooliosakeyhtiö оставалось только трое партнёров: Лахти, Коскинен и Бойер-Спуф. Капитан Корпела выпал из группы, потому что без согласия остальных отправился торговать изобретением за границу.
С Ab Tool Oy был заключен производственный договор на изготовление ста единиц оружия. Затвор, затворная коробка и ключевые элементы спускового механизма должны были быть изготовлены из шведской никелевой стали Bofors, а стволы были согласованы к закупке у английского завода B.S.A. дополнительным условием было четкое указание на то, что стволы должны быть из того же материала, что и у знаменитых пулемётов Льюиса.
В августе 1924 года Министерство артиллерийского управления настолько заинтересовалось пистолетом пулемётом, что заказало для испытаний четыре образца. В рамках соглашения о закупке, подписанного в октябре того же года, министерство разместило дополнительный заказ на одиннадцать новых образцов оружия. Таким образом, общее число выросло до пятнадцати. Тем же соглашением министерство также оставило за собой привилегию решить в течение трёх месяцев, будет ли патент выкуплен финским государством. Министерство так же пообещало приобрести для компании Konepistooliosakeyhtiö сто возвратных пружин для оружия из Швейцарии.
Всего в феврале 1925 года в инспекцию Министерство артиллерийского управления поступило тринадцать пистолетов пулемётов из заказанных партий. Серийные номера оружия находились в промежутке 1005-1034. В ходе проверки оружие работало хорошо, однако их магазины в ряде случаев оказались не взаимозаменяемыми, а древесина подверглась коррозии. Несмотря на это, оружие прошло проверку. По всей видимости два других пистолета-пулемёта достались министерству ранее.
За прошедшие три месяца после утверждения серийного производства армия не выразило чётких намерений относительно изъятия прав на производство. По этой причине компания Konepistooliosakeyhtiö в июне 1925 года запросила у PLM (Патентное и Лицензионное Управление) информацию о возможности отправки пяти образцов оружия в Эстонию для испытаний. Министерство артиллерийского управления не увидело препятствий для экспорта, поскольку это оружие являлось частной собственностью компании.
В октябре 1925 года министерство сделало новый заказ: десять штук “пистолетов-пулемётов Suomi”, укомплектованных двумя магазинами и запасными ударниками. Примечательно, что с этого момента в официальных документах начали использовать название “пистолет пулемёт Suomi”. Заказанная партия была принята на вооружение армии 11 сентября 1925 года.
Весной 1926 года, когда у Konepistooliosakeyhtiö появились на складе оставшиеся готовые образцы оружия из серии в 100 единиц, произведенные компанией Ab Tool Oy, они были вновь предложены Министерству обороны. В начале марта армия заказала 39 пистолетов пулемётов, 33 из которых прошли проверку в течение нескольких первых недель, а остальные — в июне. Серийные номера оружия варьировались от 1035 до 1105. Они, как и ранее приобретенные, были изготовлены под патрон 7,65×21 мм Парабеллум.
В мае 1926 года Konepistooliosakeyhtiö выразила надежду, что Министерство обороны также выкупит четыре опытных образца, все еще находившиеся в распоряжении компании. Один из опытных пистолетов пулемётов имел особое устройство замедления темпа стрельбы, в свою очередь другие модели были отличны. Предположительно, это были модели с боковым креплением магазина изготовленная в 1922 году и модель с увеличенным затыльником ствольной коробки и другой защёлкой магазина. Также возможно среди этих моделей были пистолеты пулемёты под патрон 7,63×25 мм Маузер. Эти образцы также были выкуплены, несмотря на то, что оружие было непригодно для использования в полевых условиях из за конструктивных различий.
Из 100 пистолетов-пулемётов, произведенных компанией Ab Tool Oy, более 60 были поставлены в финскую армию. Оставшиеся пистолеты пулемёты были распределены между Национальной гвардией и Пограничной службой, а некоторые экземпляры были доставлены в качестве рекламных образцов в другие страны. По результатам армейской проверки можно сделать вывод, что не все M/26 из серии 100 образцов были хорошего качества. Возможно, некоторые из них были разобраны на запчасти еще на ранней стадии.
Партия из менее чем 100 пистолетов пулемётов поставленных на вооружение финской армии, различавшихся по конструкции и калибру, впоследствии оказались весьма сложными в обслуживании. Поэтому в 1930-е годы пистолеты пулемёты M/26 хранились на складах и использовались в качестве оружия для учебных целей. В годы войны это оружие находилось в основном в распоряжении тыловых войск. Для фронтового использования они были слишком специфичны. По этой причине M/26 пережил войны 1939-1945 годов с очень небольшими потерями.
Характеристики M/26:
Патрон — 7,65 мм Парабеллум
Общая длина — 930 мм
Длина ствола — 350 мм
Масса — 4,180 кг
Темп стрельбы — 600 в/мин
Боепитание — 36 зарядный коробчатый магазин
Источник: https://forum.enlisted.ru/












